#重庆交通#
2093人参与 284019浏览
-
坐轻轨我遭挤成了夹心饼干
我真的佩服这些大妈,脸皮好厚,明明只能坐四个人的位置已经坐了三个人了,,我坐中间,两个大妈上来抢位置,互不相让,一屁股就在我左右两边坐下来,瞬间把弱小的我挤在中间夹起,咱也不敢说,毕竟大妈些那张嘴都惹不起,只能无奈的翻白眼。你们看看两边大妈占据了我好多位置[ej=1F602][ej=1F602][ej=1F602],幸好我瘦哟[ej=1F602]。
50144899 2021-04-01 13:5224638 111
-
公交车站为啥没车?石坪桥这9条公交线突然不见了,这是咋回事
九龙坡区石坪桥的居民甘先生反映,本来住家附近家门有一个大的公交站,可是今天早上出门坐车,甘先生发现很多条公交线路一夜之间被取消了,居民出行遇到了麻烦。 甘先生住在石坪桥转盘附近的一个小区,上午出门去南岸办事,可是平时乘坐的公交线路,左等右等都没有来。 来源:重庆广电
雨幕秋风 2021-03-22 08:4526478 111
-
重庆内环快速路应不应该建道路高架系统?观点不一,争议不小
如今,呈常态化拥堵的内环快速路已不能满足重庆主城区内环以内与以外地区、主城都市区其他新区和川渝毗邻地区(广安、邻水、达州等)间快速交通转换要求。近年来,重庆一直有关于内环快速路是否要建设道路高架系统的声音,观点不一,争议也较大。 重庆内环快速路自建成以来承担了组织对外交通(进出主城区)转换与城市内部各片区、组团间快速联系双重功能,2010年内环由高速转变为城市快速路管理后,沿线开口数量不断增加,断
郁金臭 2020-12-03 16:3532510 111
-
重庆奥特莱斯周年庆一来一个不吱声,停车场堵成一锅粥
重庆奥特莱斯周年庆一来一个不吱声...还没去逛,停车到旁边宜家,已经堵的快要出不去了
xinmi501505 2024-09-23 10:0213458 37
-
上班单程35公里算远吗?开车上班超过多少公里算远?
我一个同学的自述,在一个区县上班,早8上班,晚5.30下班,家住在市区里,上班的地方在一个镇上,单程路程35公里,来回70公里,基本全程国道,路况很好,因为是近几年新修的,货车不是很多,路灯几乎全程覆盖,单程时长45分钟。 公司有宿舍他住过很久,住宿舍就没有住房补贴,而且就算住公司宿舍,同学也隔三差五回家,因为工作双休,所以至少一半时间都在家。不住宿舍有补贴,综合算起来住宿舍比回家还要贵点。 从老
听说网名长都特别帅 2022-03-10 09:2434385 107
-
现场直播轨道交通5号线过江
今天是轨道交通5号线全线运营的好日子,坐上首班车,跨过嘉陵江去打探下。
季雨桐 2023-11-30 06:2938500 110
-
为什么重庆主城到合川区要收过路费?合川也是主城区之一啊
为什么重庆主城到合川区要收过路费?合川也是主城区之一,百思不得其解!哪位大神能出来解释解释
nickvi 2021-02-22 08:422810 10
-
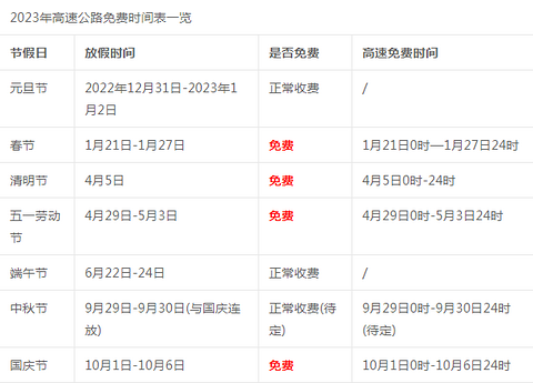
2023清明节高速公路免费吗?2023清明节高速公路免费几天
2023清明节高速公路免费吗?今年清明节高速公路免费,4月5日0时-4月5日24时,共1天。根据《重大节假日免收小型客车通行费实施方案》来看,收费公路免费通行时间为春节、清明节、劳动节、国庆节,共4个国家法定节假日以及当年国务院办公厅文件确定的上述法定节假日连休日。所以元旦节、端午节、中秋节均属于高速收费范围。 2023清明节高速公路免费吗?高速免费通行。
搞不懂先生 2023-02-15 10:36849 8
-
今晚九龙坡核心区域将施工,开车请这样走
近日,九龙坡区公安分局发布,因“杨家坪环道道路改造整治”工程建设的需要,经九龙坡区人民政府和九龙坡区公安分局交通巡逻警察支队批准,根据《中华人民共和国道路交通安全法》第三十九条之规定,拟于2021年8月27日22:00起至2021年8月30日06:00,将针对现有杨家坪环道道路进行交通转换,现将有关交通转换事宜通告如下。 来源:交广955
手抖得很 2021-08-27 13:38955 4
-
哼着小曲唱着歌按着喇叭也没避免
本来想要阴天也有个好心情 结果又要去交管所 又要去4S店 还要花时间去取车 一刻也不得闲呀
wowyummy 2023-03-06 12:41502 1
-
海峡路往内环方向,四公里立交桥下的实线,当心被抓拍
小心了哦,各位老司机!海峡路往内环方向,四公里立交桥下的实线,千万不要压线哦,当心变道被抓拍哦!平时经过这里,看到很多人肆无忌惮地压线变道,有人遭过没
完美家 2021-03-05 21:162836 8
-
目前重庆的四大“哈儿”——Foolish4
目前重庆的四大“哈儿”——Foolish 4哈儿山哈儿果哈儿爬山吃果果,哈儿桥哈儿站哈儿发癫给你看。横批:哈儿有哈福
东东710105 2025-03-18 14:2715004 66
-
终身学习都难以改变我家的命运!因为我们从来不学习!
终身学习都难以改变我们家的命运![捂脸][捂脸][捂脸] 一个人的习惯养成后很难改变,特别是在原生家庭形成的,基本上不可能改变。??我们家之所以穷,爸妈从50岁开始进城务工,之所以只能做门卫和洗碗工和清洁工,其实主要的原因还是我们自己造成的! 我不爱学习,从小到大读书只读教科书,其他的书一概不读,其实也没人给我买其他书,读教科书还是学校和老师强迫我自己去读的!造成我的阅历就非常的肤浅,智商情商都非
835291 2025-02-16 07:521338 3
-
闯红灯多久能收到违章信息?
请教下转弯黄灯最后1s车头过了停止线,然后行驶到道路中间刹停算闯红灯吗?闯红灯的话多久能收到违章信息,
46528338 2022-07-17 13:23541 7
-
2023年中秋国庆实时路况随手拍,来看哪里拥堵,哪里畅通
2023年中秋国庆8天长假重庆各条道路车多人多你是开车回家?还是自驾旅行?在路上,我们最担心的就是那车山人海影响了大家的时间! 现在,大家拿起手机,团结起来直播各地路况信息吧汇总成全面的详细的实时路况播报!给出行的亲们一个参考 大家采用何种交通方式的呢麻烦大家及时分享一下实时路况呢谢谢啦
46254547 2023-09-28 08:5120143 107
-
举报黑车那个运政的电话是好多也
举报黑车那个运政的电话是好多也
neosandy 2021-07-28 21:353808 3
-
今天早上又是踏浪而行
重庆空调冷热两用,重庆公交水陆两用
路过的好心人@|chongqing 2021-07-12 08:0224362 107
-
请问重庆高速超速不到50%是怎么处罚的?
限速80的地方,跑了110,请问如何处罚?最好有朋友现身说法,多谢
46610219 2021-06-27 21:571065 3
-
15号线二期已得到重庆市发改委批准
如链接:https://ditiem.com/forum.php?mod=viewthreadtid=1356fromuid=1631
礼嘉练科三 2021-06-10 09:19757 2
-
真武山隧道车祸,隧道内有车烧起来了
真武山隧道车祸,车烧起来了,烟挺大的,南坪去茶园走不得了哟
小布丁LaLa 2021-03-04 14:2386872 107
标签简介
大家都在讨论"重庆交通"赶紧来看看吧~

